15.12.2025

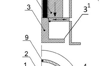
Narzędzie do kształtowania tulei z kołnierzem

Przedmiotem wynalazku jest narzędzie do wytwarzania tulei z kołnierzem według sposobu polegającego na połączonym schemacie wyciskania kątowego i prasowania, które może znaleźć zastosowanie w przemyśle maszynowym, w szczególności do wytwarzania tulejek z

28.01.2026

Kadź pośrednia z jedną przegrodą

Przedmiotem wynalazku jest kadź pośrednia. Podczas procesu ciągłego odlewania stali na etapie kadzi pośredniej interesującym wydaje się podawanie ściśle określonej ilości dodatków stopowych celem modyfikacji wtrąceń niemetalicznych lub korekty składu

12.12.2025

Sposób wytwarzania drutów z powłoką niklową, zwłaszcza drutów spawalniczych

Przedmiotem wynalazku jest sposób wytwarzania drutów niklowanych zwłaszcza do zastosowania w spawalnictwie np. metodami spawania MIG/MAG w branżach takich jak: budownictwo konstrukcji stalowych nośnych, budownictwo przemysłowe, transport, górnictwo,

12.12.2025

Samodezynfekująca mata materacowa

Przedmiotem wynalazku jest samodezynfekująca mata materacowa zawierająca dzianinę dystansową z włóknami światłowodowymi emitującymi promieniowanie UV. Rolą światłowodów jest przenoszenie energii promieniowania UV w zakresie od 240 nm do 315 nm.

17.12.2025

Sposób otrzymywania żeber na powierzchni bocznej wyrobu

Przedmiotem wynalazku jest sposób otrzymywania żeber na powierzchni bocznej wyrobu o dowolnym kształcie przekroju, przeznaczony do zastosowania w branży przetwórstwa metali żelaznych i nieżelaznych, zwłaszcza w przemyśle maszynowym, metalurgicznym,

28.01.2026

Sposób otrzymywania rozłączalnego jarzma giętkiego

Przedmiotem wynalazku jest sposób otrzymywania rozłączalnego jarzma giętkiego, stosowany zwłaszcza do łączenia dwóch elementów. Stosowane dotychczas łączniki rozłączalne w kształcie liter C lub U lub Ω służą do połączenia odpowiednio dwóch elementów

Copyright © Politechnika Częstochowska. Wszystkie prawa zastrzeżone.