Sposób otrzymywania żeber na powierzchni bocznej wyrobu

OPIS

Przedmiotem wynalazku jest sposób otrzymywania żeber na powierzchni bocznej wyrobu o dowolnym kształcie przekroju, przeznaczony do zastosowania w branży przetwórstwa metali żelaznych i nieżelaznych, zwłaszcza w przemyśle maszynowym, metalurgicznym, zbrojeniowym, motoryzacyjnym, w budowie konstrukcji metalowych w szczególności do wytwarzania łopatek np. dla wirników turbin.

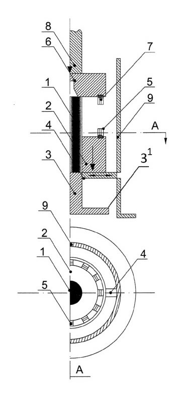
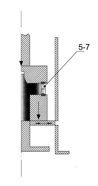
Sposób wytwarzania żeber na powierzchni bocznej polega na umieszczeniu uprzednio rozgrzanego metalowego pręta w tulei a następnie spęczaniu stemplem, charakteryzuje się tym, że wsad (1) w postaci pręta podgrzany do temperatury odkształceń plastycznych dla materiału wsadu umieszcza się w zamocowanej suwliwie tulei (2) o wysokości nie mniejszej niż połowa wysokości wsadu (1), osadzonej na unieruchomionym stemplu (3) oraz elemencie oporowym (4), a od góry wyposażonej w dolną część zaciskowej matrycy (5), po czym płytę (6) z zamocowaną do niej od dołu górną częścią zaciskowej matrycy (7) dosuwa się stemplem (8) do powierzchni czołowej wsadu (1) i naciskając dalej stemplem (8) na płytę (6) spęcza się wsad (1) znajdujący się poza tuleją (2) aż do momentu zaciśnięcia się dolnej części matrycy zaciskowej (5) i górnej części matrycy zaciskowej (7) a następnie usuwa się element oporowy (4) i wciąż naciskając stemplem górnym (8) na płytę (6) przesuwa się tuleję (2) oraz matrycę (5-7) w dół wyciskając uprzednio odkształcony wsad (1) promieniowo przez matrycę (5-7) aż do osadzenia tulei (2) na kołnierzu (31) stempla (3).

Tytuł

Sposób otrzymywania żeber na powierzchni bocznej wyrobu

Numer zgłoszenia w UP P.436637
Numer prawa wyłącznego Pat.247525
Data zgłoszenia do UP 2021-01-11
Data udzielenia prawa 2025-05-06
Status w UP Prawo w mocy

ZDJĘCIA

Zobacz również

04.02.2026

Masywny amorficzny stop żelaza

Przedmiotem wynalazku jest masywny amorficzny stop żelaza z dodatkiem srebra mający zastosowanie zwłaszcza w elektronice, elektrotechnice i energetyce, który charakteryzuje się tym, że ma skład Fe61Co10Y8Ag1B20, oraz nieuniknione zanieczyszczenia.

04.02.2026

Nanokrystaliczny stop żelaza - Fe60Co10Y9Ni1B20

Przedmiotem wynalazku jest nanokrystaliczny stop żelaza mający zastosowanie zwłaszcza w elektronice, elektrotechnice i energetyce, który charakteryzuje się tym, że ma skład Fe60Co10Y9Ni1B20, oraz nieuniknione zanieczyszczenia. Materiały wykazujące

dr hab. inż. Maciej Suliga, prof. PCz

Wydział

Wydział Inżynierii Produkcji i Technologii Materiałów

Dyscyplina naukowa

Inżynieria materiałowa

Twórcy

  1. Jacek Michalczyk
  2. Sylwia Wencel
  3. Sebastian Mróz
  4. Piotr Szota
  5. Andrzej Stefanik

Kategorie

Patenty

Copyright © Politechnika Częstochowska. Wszystkie prawa zastrzeżone.