Kadź pośrednia z jedną przegrodą

OPIS

Przedmiotem wynalazku jest kadź pośrednia. Podczas procesu ciągłego odlewania stali na etapie kadzi pośredniej interesującym wydaje się podawanie ściśle określonej ilości dodatków stopowych celem modyfikacji wtrąceń niemetalicznych lub korekty składu chemicznego stopowanie odlewanego gatunku stali.

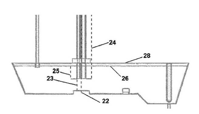
Przedmiotem wynalazku jest kadź pośrednia posiadająca jedną albo dwie przegrody ceramiczne charakteryzująca się tym, że przegrody ceramiczne (5) osadzone są w dnie korzystnie w połowie odległości pomiędzy strefą zasilania kadzi pośredniej a wylewami (3). W każdej z przegród ceramicznych (5) są dwie cylindryczne kształtki gazoprzepuszczalne (6), gdzie wysokość (7A) każdej przegrody ceramicznej (5) równa jest iloczynowi wysokości słupa metalu i współczynnika korygującego równego od 0,1 do 0,8. Długość przegrody ceramicznej (8) równa jest od 0,5 do 2 m i jest wypadkową szerokości kadzi w miejscu osadzenia przegrody, średnica kształtek gazoprzepuszczalnych (6A, 6B, 6C i 6D) wynosi od 0,1 do 0,5 m i jest wypadkową połowy wartości ilorazu długości przegrody przez współczynnik korygujący równy 1,2 – 2,5. Szerokość przegrody (7) równa jest iloczynowi średnicy kształtki gazoprzepuszczalnej (6) i współczynnika korygującego równego od 1,1 do 1,4. Odległość pomiędzy środkami (9) obwodów kół opisujących kształt podstawy kształtek gazoprzepuszczalnych (6A i 6B) oraz (6C i 6D) jest iloczynem średnicy kształtki gazoprzepuszczalnej i współczynnika korygującego równego od 1,1 do 2,6, przy czym kształtki gazoprzepuszczalne (6) są rozmieszczone symetrycznie w przegrodzie ceramicznej względem osi wzdłużnej kadzi pośredniej (4). Ponadto nad każdą przegrodą gazoprzepuszczalną (5) jest ceramiczna pokrywa (11), której długość (13) ceramicznej pokrywy (11) zapewnia osadzenie pokrywy na kadzi pośredniej i grubość (12A) ceramicznej pokrywy (11) wynosi od 0,1 do 0,25 m. Szerokość (12) ceramicznej pokrywy (11) równa jest iloczynowi szerokości przegrody (7) i współczynnika korygującego równego od 1,5 do 2, ponadto osłony ceramiczne (6) są zanurzone na tej samej głębokości, a głębokość jest liczona od poziomu stali w kadzi pośredniej, jako iloczyn poziomu stali w kadzi pośredniej i współczynnika korygującego równego od 0,1 do 0,8.

Przedmiotem zgłoszenia jest także sposób mieszania ciekłej stali z dodatkiem stopowym w kadzi pośredniej, który charakteryzuje się tym, że poprzez osłony ceramiczne (15) podawana jest ta sama ilość dodatku stopowego w postaci drutu i poprzez osłony ceramiczne (14) podawana jest ta sama ilość dodatku stopowego w postaci kawałkowej, natomiast natężenie przepływu argonu dla poszczególnych kształtek gazo-przepuszczalnych (6A i 6B) jest różne.

Tytuł Kadź pośrednia
Numer zgłoszenia w UP P.444338
Numer prawa wyłącznego Pat.247643
Data zgłoszenia do UP 2023-04-06
Data udzielenia prawa 2025-05-20
Status w UP Prawo w mocy

ZDJĘCIA

Zobacz również

04.02.2026

Masywny amorficzny stop żelaza

Przedmiotem wynalazku jest masywny amorficzny stop żelaza z dodatkiem srebra mający zastosowanie zwłaszcza w elektronice, elektrotechnice i energetyce, który charakteryzuje się tym, że ma skład Fe61Co10Y8Ag1B20, oraz nieuniknione zanieczyszczenia.

04.02.2026

Nanokrystaliczny stop żelaza - Fe60Co10Y9Ni1B20

Przedmiotem wynalazku jest nanokrystaliczny stop żelaza mający zastosowanie zwłaszcza w elektronice, elektrotechnice i energetyce, który charakteryzuje się tym, że ma skład Fe60Co10Y9Ni1B20, oraz nieuniknione zanieczyszczenia. Materiały wykazujące

dr hab. inż. Maciej Suliga, prof. PCz

Wydział

Wydział Inżynierii Produkcji i Technologii Materiałów

Dyscyplina naukowa

Inżynieria materiałowa

Twórcy

  1. Adam Cwudziński

Kategorie

Patenty

Copyright © Politechnika Częstochowska. Wszystkie prawa zastrzeżone.