Narzędzie do kształtowania tulei z kołnierzem

OPIS

Przedmiotem wynalazku jest narzędzie do wytwarzania tulei z kołnierzem według sposobu polegającego na połączonym schemacie wyciskania kątowego i prasowania, które może znaleźć zastosowanie w przemyśle maszynowym, w szczególności do wytwarzania tulejek z kołnierzem wyposażonych w wielowypust lub uzębienie wewnętrzne.

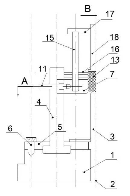
Narzędzie do wytwarzania tulei z kołnierzem, charakteryzuje się funkcjonalną konstrukcją. Posiada m.in. cylindryczną podstawę (1) z wykonanym centrycznie otworem, w którym osadzony jest dolny stempel (3) posiadający fazowaną górną zewnętrzną krawędź. W płycie (1) umiejscowione są kolumny nośne (4) dociśnięte płytą i śrubami. Pomiędzy kolumnami nośnymi znajduje się matryca (7) z centrycznym otworem i fazowaną wewnętrzną dolną krawędzią. Matryca unieruchomiona jest klinami (11) znajdującymi się w przelotowych otworach (9) kolumn nośnych (4) i w otworach bocznych (10) matrycy (7). Od góry na matrycy (7) ułożone są warstwowo płaskie pierścienie z centrycznie wykonanymi otworami. Ilość płaskich pierścieni zależy od wysokości zastosowanego wsadu. Matryca (7) i płaskie pierścienie posiadają współosiowe otwory w których zaprasowane są kolumny naciskowe od góry połączone ze sobą płytą naciskową. W centrycznym otworze matrycy (7) i warstwowo ułożonych pierścieniach (10) znajduje się wsad, do którego przylega stempel, natomiast w drugiej operacji wytwarzania tulei z kołnierzem do płyty naciskowej przylega stempel talerzowy. Korzystnym jest, aby fazowana zewnętrzna górna krawędź stempla dolnego (3) i fazowana wewnętrzna dolna krawędź matrycy (7) tworzyły prześwit o kącie nachylenia do pionowej osi narzędzia w zakresie od 5° do 30°.

Tytuł Narzędzie do wytwarzania tulei z kołnierzem
Numer zgłoszenia w UP P.439582
Numer prawa wyłącznego Pat.248367
Data zgłoszenia do UP 2021-11-22
Data udzielenia prawa 2025-09-16
Status w UP Prawo w mocy

ZDJĘCIA

Zobacz również

04.02.2026

Masywny amorficzny stop żelaza

Przedmiotem wynalazku jest masywny amorficzny stop żelaza z dodatkiem srebra mający zastosowanie zwłaszcza w elektronice, elektrotechnice i energetyce, który charakteryzuje się tym, że ma skład Fe61Co10Y8Ag1B20, oraz nieuniknione zanieczyszczenia.

04.02.2026

Nanokrystaliczny stop żelaza - Fe60Co10Y9Ni1B20

Przedmiotem wynalazku jest nanokrystaliczny stop żelaza mający zastosowanie zwłaszcza w elektronice, elektrotechnice i energetyce, który charakteryzuje się tym, że ma skład Fe60Co10Y9Ni1B20, oraz nieuniknione zanieczyszczenia. Materiały wykazujące

dr hab. inż. Maciej Suliga, prof. PCz

Wydział

Wydział Inżynierii Produkcji i Technologii Materiałów

Dyscyplina naukowa

Inżynieria materiałowa

Twórcy

  1. Jacek Michalczyk
  2. Maciej Suliga

Kategorie

Patenty

Copyright © Politechnika Częstochowska. Wszystkie prawa zastrzeżone.