Głowica pomiarowa

OPIS

Przedmiotem wynalazku jest głowica pomiarowa, którą wykorzystuje się do badania właściwości blach stalowych z wykorzystaniem metody szumów Barkhausena. W badaniach materiałowych szczególną rolę odgrywają badania nieinwazyjne, dzięki którym na podstawie wskazań, bez niszczenia próbek uzyskuje się dane o możliwości wystąpienia pęknięć, wad ukrytych itp.

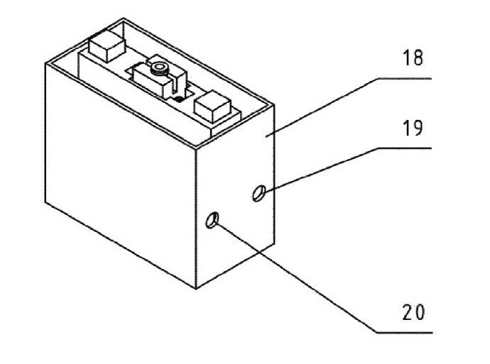
Głowica pomiarowa metodą szumów Barkhausena charakteryzuje się tym, że posiada obudowę (18) z otworem kabla zasilającego uzwojenie magnesujące (19) i otworem kabla sygnałowego cewki detekcyjnej (20) oraz podstawkę (1) z otworami mocującymi (21) oraz wspornikiem (2), dla co najmniej dwóch sprężyn (3), które są mocowane do gniazda sprężyn (4). Gniazda sprężyn (4) z każdej strony są sztywnie połączone z kołnierzami (8) karkasu (5), na którym nawinięte jest uzwojenie magnesujące (6), natomiast przez karkas (5) oraz przez uzwojenie magnesujące (6) mocowane jest jarzmo magnetyczne (7), które z każdej strony ma wystające kolumny (9). Kolumny wychodzą ponad kołnierze (8) karkasu (5), natomiast na kolumnach (9) jarzma magnetycznego (7) mocowana jest rozłącznie i przelotowo belka (10), w której gnieździe (11) za pomocą obsadki (12) jest umiejscowiona cewka detekcyjna (13).

Tytuł Głowica pomiarowa
Numer zgłoszenia w UP P.446390
Numer prawa wyłącznego Pat.248296
Data zgłoszenia do UP 2023-10-15
Data udzielenia prawa 2025-09-04
Status w UP Prawo w mocy

ZDJĘCIA

Zobacz również

04.02.2026

Masywny amorficzny stop żelaza

Przedmiotem wynalazku jest masywny amorficzny stop żelaza z dodatkiem srebra mający zastosowanie zwłaszcza w elektronice, elektrotechnice i energetyce, który charakteryzuje się tym, że ma skład Fe61Co10Y8Ag1B20, oraz nieuniknione zanieczyszczenia.

04.02.2026

Nanokrystaliczny stop żelaza - Fe60Co10Y9Ni1B20

Przedmiotem wynalazku jest nanokrystaliczny stop żelaza mający zastosowanie zwłaszcza w elektronice, elektrotechnice i energetyce, który charakteryzuje się tym, że ma skład Fe60Co10Y9Ni1B20, oraz nieuniknione zanieczyszczenia. Materiały wykazujące

dr hab. inż. Maciej Suliga, prof. PCz

Wydział

Wydział Inżynierii Produkcji i Technologii Materiałów

Dyscyplina naukowa

Inżynieria materiałowa

Twórcy

  1. Tomasz Garstka
  2. Marcin Kwapisz
  3. Marlena Krakowiak
  4. Sylwester Sawicki

Kategorie

Patenty

Copyright © Politechnika Częstochowska. Wszystkie prawa zastrzeżone.