Trapezowy modułowy fundament mobilny

OPIS

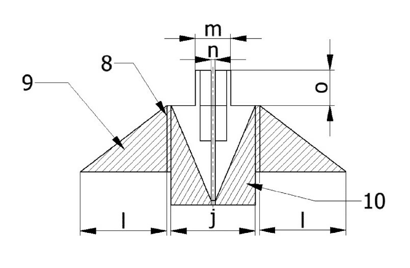
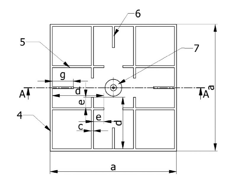
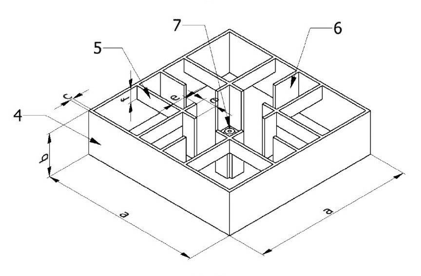
Przedmiotem wynalazku jest trapezowy modułowy fundament mobilny, którego zadaniem jest przekazanie obciążeń obiektu budowlanego na podłoże. Trapezowy modułowy fundament mobilny charakteryzuje się tym, że ma podstawę (1), wkładkę (2) oraz stopkę słupa (3). Znane są z praktyki oraz opisów w literaturze fundamenty bezpośrednie oraz fundamenty pośrednie. Ze względu na użyty materiał wyróżnia się fundamenty betonowe, żelbetowe, ceglane i kamienne.

Wynalazek rozwiązuje problem techniczny dotyczący posadowienia mobilnych obiektów, takich jak banery reklamowe czy niewielkie maszty. Problemem, który ten wynalazek rozwiązuje, jest zapewnienie stabilnego, łatwego w montażu i demontażu fundamentu dla np. banerów reklamowych, jednocześnie umożliwiając ich szybki transport i ponowne ustawienie. Konstrukcja fundamentu mobilnego o strukturze modułowej i trapezowej składa się z podstawy, wkładki oraz stopy słupa, którą wkłada się do wkładki, co zapewnia stabilne mocowanie elementu nośnego. Konstrukcję można łatwo rozłożyć i złożyć, co ułatwia transport i instalację, a jej modułowa budowa umożliwia dostosowanie do różnych wymagań i warunków terenowych.

Tytuł Trapezowy modułowy fundament mobilny
Numer zgłoszenia w UP P.449581
Numer prawa wyłącznego Pat.248678
Data zgłoszenia do UP 2024-08-25
Data udzielenia prawa 2025-12-01
Status w UP Prawo w mocy

ZDJĘCIA

Zobacz również

06.02.2026

Kompozytowo‐szklany dwuteownik konstrukcyjny

Przedmiotem wynalazku jest kompozytowo-szklany dwuteownik konstrukcyjny, który złożony jest z dwóch elementów chwytnych stalowych, pomiędzy którymi znajduje się element szklany. Kompozytowo-szklany dwuteownik konstrukcyjny może być wykorzystany jako belka

29.01.2026

Element zbrojenia

Przedmiotem wynalazku jest element i system zbrojenia dla konstrukcji żelbetowych zwiększający przyczepność do betonu, nośność elementu konstrukcyjnego oraz ograniczający rozwarcie rys, przeznaczony do budownictwa oraz system zbrojenia, który opiera się

dr inż. Jacek Nawrot

Wydział

Wydział Budownictwa

Dyscyplina naukowa

Inżynieria lądowa i transport

Twórcy

  1. Maciej Major
  2. Izabela Major
  3. Jarosław Kalinowski
  4. Mariusz Kosiń

Kategorie

Patenty

Copyright © Politechnika Częstochowska. Wszystkie prawa zastrzeżone.