Kompozytowo‐szklany dwuteownik konstrukcyjny

OPIS

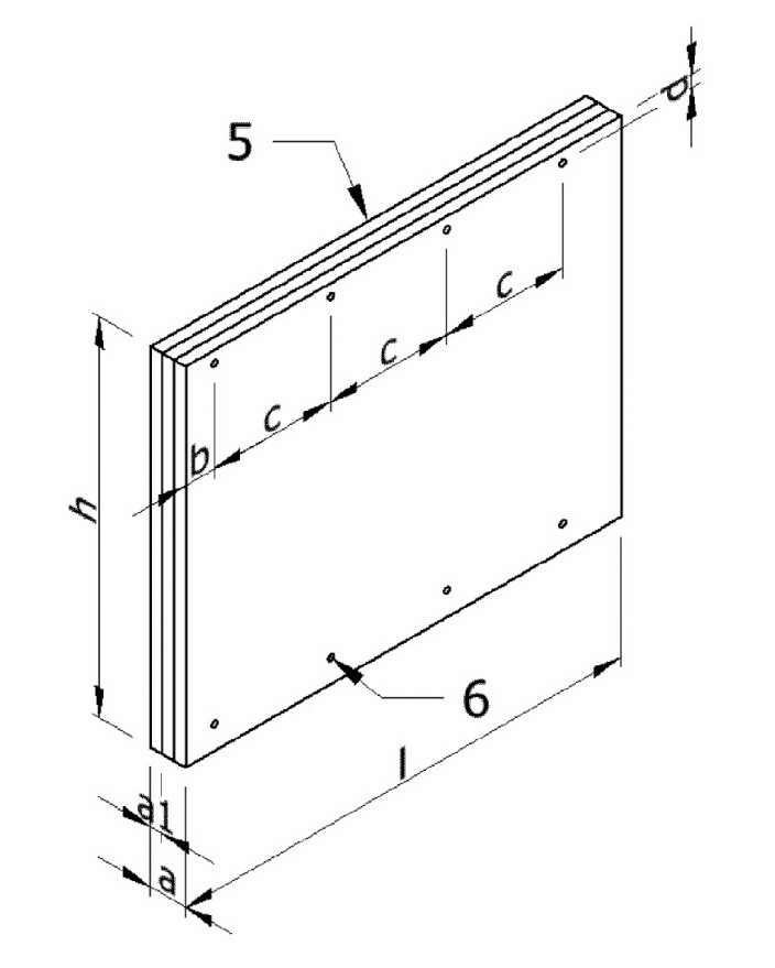
Przedmiotem wynalazku jest kompozytowo-szklany dwuteownik konstrukcyjny, który złożony jest z dwóch elementów chwytnych stalowych, pomiędzy którymi znajduje się element szklany. Kompozytowo-szklany dwuteownik konstrukcyjny może być wykorzystany jako belka do realizacji stropów zespolonych. Części z betonu polimerowego oraz szkła hartowanego, które dobrze prezentuje się jako element architektoniczny przejmują naprężenia ściskające, a części stalowe naprężenia rozciągające. W efekcie całość tworzy element zapewniając wysokie parametry wytrzymałościowe. Kompozytowo-szklany dwuteownik konstrukcyjny charakteryzuje się tym, że ma element szklany (1), łącznik (2), element stalowy (3) oraz szynę stalową (4).

W budownictwie występuje potrzeba zagospodarowania światła słonecznego, dzięki czemu oszczędza się na doświetlaniu pomieszczeń. Elementy belkowe mogą służyć m. in. jako podparcie dla elementów stropowych. Znane są z praktyki oraz opisów w literaturze profile o zróżnicowanych formach przekroju poprzecznego jak i użytych materiałów do ich wykonania.

Tytuł Kompozytowo‐szklany dwuteownik konstrukcyjny
Numer zgłoszenia w UP P.449580
Numer prawa wyłącznego Pat.248677
Data zgłoszenia do UP 2024-08-25
Data udzielenia prawa 2025-12-01
Status w UP Prawo w mocy

ZDJĘCIA

Zobacz również

06.02.2026

Trapezowy modułowy fundament mobilny

Przedmiotem wynalazku jest trapezowy modułowy fundament mobilny, którego zadaniem jest przekazanie obciążeń obiektu budowlanego na podłoże. Trapezowy modułowy fundament mobilny charakteryzuje się tym, że ma podstawę (1), wkładkę (2) oraz stopkę słupa (3).

29.01.2026

Element zbrojenia

Przedmiotem wynalazku jest element i system zbrojenia dla konstrukcji żelbetowych zwiększający przyczepność do betonu, nośność elementu konstrukcyjnego oraz ograniczający rozwarcie rys, przeznaczony do budownictwa oraz system zbrojenia, który opiera się

dr inż. Jacek Nawrot

Wydział

Wydział Budownictwa

Dyscyplina naukowa

Inżynieria lądowa i transport

Twórcy

  1. Maciej Major
  2. Izabela Major
  3. Jarosław Kalinowski
  4. Mariusz Kosiń

Kategorie

Patenty

Copyright © Politechnika Częstochowska. Wszystkie prawa zastrzeżone.