Modułowy przenośny fundament schodkowy oraz fundament grupowy

OPIS

Przedmiotem wynalazku jest modułowy przenośny fundament schodkowy, stosowany do posadowienia mobilnych obiektów takich jak przenośna wytwórnia betonu, różnego rodzaju maszty, silosy itp., np. podczas budowy autostrad, kiedy występuje potrzeba przemieszczania obiektów wraz z postępem prac. Dodatkowo przedmiotem wynalazku jest fundament grupowy. Fundament jest elementem konstrukcyjnym, którego zadaniem jest przekazanie obciążeń obiektu budowlanego na podłoże. Znane są z praktyki oraz opisy w literaturze fundamentów bezpośrednich oraz fundamentów pośrednich. Ze względu na użyty materiał wyróżnia się fundamenty betonowe, żelbetowe, ceglane i kamienne.

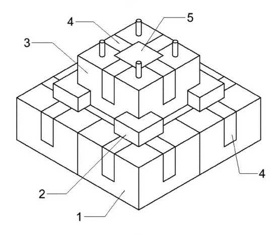
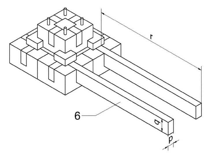
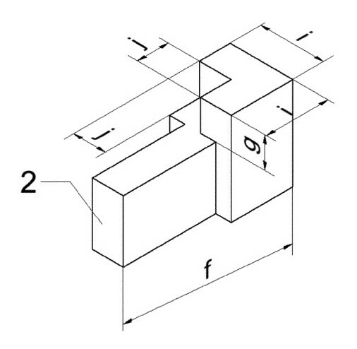
Modułowy przenośny fundament schodkowy charakteryzuje się tym, że zbudowany jest z pięciu części: elementu podstawowego (1), elementu łączącego (2), elementu wiążącego (3), elementu zamykającego (4) i elementu sześciennego (5), które po złożeniu tworzą jedną całość. Fundament grupowy, z użyciem modułowego przenośnego fundamentu schodkowego charakteryzuje się tym, że co najmniej dwa modułowe przenośne fundamenty schodkowe połączone są za pomocą co najmniej dwóch prowadnic.

Tytuł Modułowy przenośny fundament schodkowy oraz fundament grupowy
Numer zgłoszenia w UP P.449105
Numer prawa wyłącznego Pat.248676
Data zgłoszenia do UP 2024-07-02
Data udzielenia prawa 2025-12-01
Status w UP Prawo w mocy

ZDJĘCIA

Zobacz również

06.02.2026

Kompozytowo‐szklany dwuteownik konstrukcyjny

Przedmiotem wynalazku jest kompozytowo-szklany dwuteownik konstrukcyjny, który złożony jest z dwóch elementów chwytnych stalowych, pomiędzy którymi znajduje się element szklany. Kompozytowo-szklany dwuteownik konstrukcyjny może być wykorzystany jako belka

06.02.2026

Trapezowy modułowy fundament mobilny

Przedmiotem wynalazku jest trapezowy modułowy fundament mobilny, którego zadaniem jest przekazanie obciążeń obiektu budowlanego na podłoże. Trapezowy modułowy fundament mobilny charakteryzuje się tym, że ma podstawę (1), wkładkę (2) oraz stopkę słupa (3).

dr inż. Jacek Nawrot

Wydział

Wydział Budownictwa

Dyscyplina naukowa

Inżynieria lądowa i transport

Twórcy

  1. Izabela Major
  2. Maciej Major
  3. Jarosław Kalinowski
  4. Mariusz Kosiń

Kategorie

Patenty

Copyright © Politechnika Częstochowska. Wszystkie prawa zastrzeżone.