Urządzenie do suszenia złomu tytanowego

OPIS

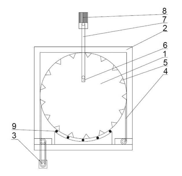
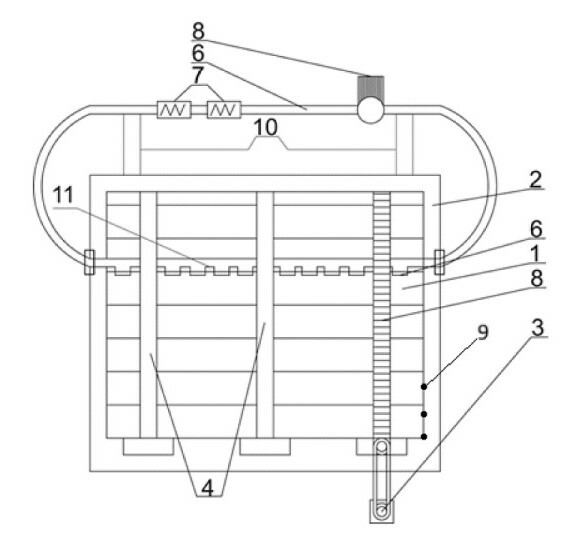
Przedmiotem wynalazku jest urządzenie do suszenia złomu tytanowego - charakteryzuje się tym, że w obudowie (2) ma bęben (1) połączony z silnikiem (3) osadzony na dwóch tulejach (4) z berylo-brązu, gdzie wewnątrz bębna (1) są trójkątne poprzeczki poprowadzone przez całą długość bębna (1) i połączone z bębnem (1) na stałe. Posiada również rurę (6) osadzoną w bębnie (1) oraz w części na zewnątrz obudowy (2) gdzie część rury w bębnie (1) ma otwory (10), a sama rura (6) połączona jest z grzałką elektryczną (7) i z pompą (8), a ponadto we wnętrzu bębna (1) są grzałki (7) osadzone między bębnem (1) i obudową (2) i połączone ze źródłem prądu.

Znane jest z przemysłu czyszczenie wiórów tytanu, które wykonuje się w myjniach ślimakowych poddawanych wibracjom pochodzącym od ekscentryka. Wsad wsypywany jest do bębna, gdzie pod wpływem wibracji i jednego medium myjącego jest oczyszczany. Proces ten jest nieekologiczny i nieefektywny. Nie ma możliwości dobrego oczyszczenia tytanu, co wpływa na pogorszenie jego jakości i eliminuje go do zastosowań np. w medycynie.

Innym sposobem czyszczenia wiórów tytanu jest wykorzystanie procesów obróbki termicznej. Wióry tytanu ze względu na swoje pochodzenie zanieczyszczone są substancjami, które można usunąć z powierzchni metalu w procesie spalania lub pirolizy. Wióry tytanu umieszczane są w komorze, w której przeprowadza się opalanie bądź proces pirolizy. Procesy te prowadzone są w wysokiej temperaturze, co pozwala na wypalenie pozostałości smarów i innych substancji związanych z obróbką tytanu. Ze względu na wysoką temperaturę i wysokie powinowactwo tytanu do tlenu dochodzi do utlenienia się tytanowych wiórów. Tlen zaabsorbowany przez przetwarzany tytan jest bardzo trudny do usunięcia, co dyskwalifikuje produkt recyklingu do zastosowań medycznych.

Tytuł Urządzenie do suszenia złomu tytanowego
Numer zgłoszenia w UP P.437452
Numer prawa wyłącznego Pat.248670
Data zgłoszenia do UP 2021-03-29
Data udzielenia prawa 2025-12-02
Status w UP Prawo w mocy

ZDJĘCIA

Zobacz również

04.02.2026

Masywny amorficzny stop żelaza

Przedmiotem wynalazku jest masywny amorficzny stop żelaza z dodatkiem srebra mający zastosowanie zwłaszcza w elektronice, elektrotechnice i energetyce, który charakteryzuje się tym, że ma skład Fe61Co10Y8Ag1B20, oraz nieuniknione zanieczyszczenia.

04.02.2026

Nanokrystaliczny stop żelaza - Fe60Co10Y9Ni1B20

Przedmiotem wynalazku jest nanokrystaliczny stop żelaza mający zastosowanie zwłaszcza w elektronice, elektrotechnice i energetyce, który charakteryzuje się tym, że ma skład Fe60Co10Y9Ni1B20, oraz nieuniknione zanieczyszczenia. Materiały wykazujące

dr hab. inż. Maciej Suliga, prof. PCz

Wydział

Wydział Inżynierii Produkcji i Technologii Materiałów

Dyscyplina naukowa

Inżynieria materiałowa

Twórcy

  1. Marcin Nabiałek
  2. Sergij Arestenko
  3. Feliks Kusajew
  4. Bartłomiej Jeż

Kategorie

Patenty

Copyright © Politechnika Częstochowska. Wszystkie prawa zastrzeżone.