Sposób wykrywania nielegalnego poboru energii elektrycznej

OPIS

Patent dotyczy sposobu wykrywania nielegalnego poboru energii elektrycznej, w szczególności poboru dokonywanego przed licznikiem na przyłączu odbiorcy do sieci przesyłowej, zarówno w liniach niskiego jak i średniego napięcia.

Kradzież energii elektrycznej jest plagą w naszym kraju i stałym elementem działalności zakładów
energetycznych. Odbiorcy stosują coraz wymyślniejsze metody nielegalnego poboru energii elektrycznej. Wymaga to stosowania przez spółki dystrybucyjne coraz lepszych sposobów wykrywania kradzieży
energii, zwłaszcza że nielegalny pobór energii musi zostać nieuczciwemu odbiorcy udowodniony, aby
zaistniała możliwość uzyskania odszkodowania.

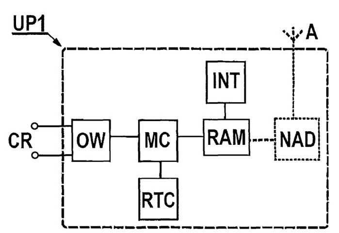
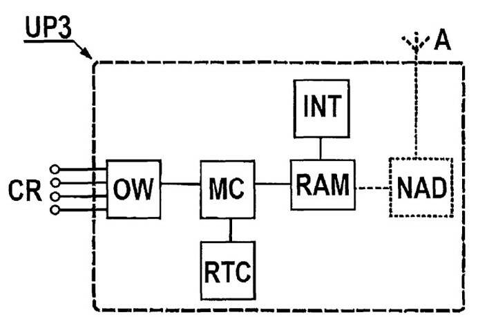
Sposób wykrywania nielegalnego poboru energii elektrycznej polega na tym, że pomiarowe urządzenia (UP1, UP3) wyposażone w cewki Rogowskiego (CR) instaluje się na wyjściu transformatora wydzielonej gałęzi sieci przesyłowej od strony odbiorcy lub grupy odbiorców na każdej z faz (L1, L2, L3) toru prądowego i na przewodzie zerowym (N) oraz na każdej z faz toru prądowego i na przewodzie zerowym przyłącza każdego z odbiorców lub grupy odbiorców do sieci przesyłowej. Następnie dokonuje się odczytu wskazań liczników (LE1, LE3) każdego z odbiorców, po czym, przez zadany okres czasu, rejestruje się wskazania wartości natężenia prądu płynącego przez przyłącza każdego odbiorcy do sieci przesyłowej i wskazania wartości natężenia prądu na wyjściu transformatora wydzielonej gałęzi sieci przesyłowej od strony odbiorcy. Zarejestrowane wartości natężenia prądu uśrednia się w zadanym okresie czasu identycznym jak okres uśredniania profilu mocy liczników (LE1, LE3) zainstalowanych u odbiorców badanej gałęzi linii przesyłowej. W dalszej kolejności odłącza się zainstalowane wcześniej pomiarowe urządzenia (UP1, UP3) i dokonuje się ponownego odczytu wskazań liczników (LE1, LE3) każdego z odbiorców, po czym porównuje się uśrednione wartości natężenia prądu zarejestrowane przez pomiarowe urządzenie (UP3) odłączone z wyjścia transformatora wydzielonej gałęzi sieci przesyłowej z sumą uśrednionych wartości natężenia prądu zarejestrowanych przez pozostałe pomiarowe urządzenia (UP1, UP3).

Tytuł Sposób wykrywania nielegalnego poboru energii elektrycznej
Numer zgłoszenia w UP P.430616
Numer prawa wyłącznego Pat.244895
Data zgłoszenia do UP 2019-07-16
Data udzielenia prawa 2023-12-05
Status w UP Prawo w mocy

ZDJĘCIA

Zobacz również

12.12.2025

Samodezynfekująca mata materacowa

Przedmiotem wynalazku jest samodezynfekująca mata materacowa zawierająca dzianinę dystansową z włóknami światłowodowymi emitującymi promieniowanie UV. Rolą światłowodów jest przenoszenie energii promieniowania UV w zakresie od 240 nm do 315 nm.

23.07.2024

Sposób otrzymywania materiału kompozytowego oraz materiał kompozytowy 2

Sposób otrzymywania materiału kompozytowego charakteryzuje się tym, że w kolejności mieszankę zgorzelinowo-nanokrystaliczą w ilości 70 - 80% wagowo i mieszaninę ceramiczną w ilości 20 – 30% wagowo, zasypuje się do formy prasowniczej, po każdym

mgr inż. Olga Kołecka

Wydział

Wydział Elektryczny

Dyscyplina naukowa

Automatyka, elektronika i elektrotechnika

Twórcy

  1. Jerzy Szkutnik
  2. Anna Gawlak
  3. Grzegorz Dudek
  4. Mirosław Kornatka

Kategorie

Patenty

Copyright © Politechnika Częstochowska. Wszystkie prawa zastrzeżone.