Sposób usuwania odpadów polistyrenowych z zastosowaniem larw owadów

OPIS

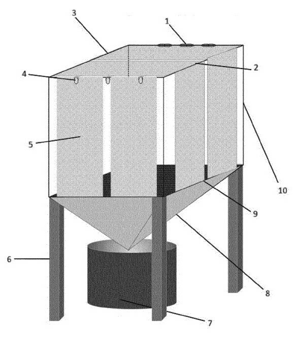
Przedmiotem wynalazku jest sposób usuwania odpadów polistyrenowych z zastosowaniem larw owadów, który charakteryzuje się tym, że w zbiorniku o dnie w kształcie stożka oraz czterech prostopadłych do siebie ścianach z siatki metalowej o przekroju prostokąta z osadzonymi na ścianach matami z wypełnienia z węgla aktywnego w ilości od 60 do 90 korzystnie 80% pokrycia każdej ściany bocznej, osadza się odpady styropianowe wypełniające 65 – 90% objętości zbiornika i wprowadza się od 2 do 3 kg larw drewnojada, po czym całość poddaje się inkubacji przez okres 20 - 45 dni w temperaturze od 18 do 26°C przy wilgotności od 60 do 80% oraz bez dostępu światła, a następnie tak powstała frakcja odchodów larw grawitacyjnie przesypuje się do odbieralnika, a uzyskaną frakcję sypką poddaje się separacji poprzez wprowadzenie frakcji do zbiornika z wodą, a następnie miesza i zbiera powstałą górną porcję znanymi sposobami, przy czym w procesie separacji stosunek frakcji proszkowej do wody zawiera się w zakresie 1:1 do 1:3.

Tytuł Sposób usuwania odpadów polistyrenowych z zastosowaniem larw owadów
Numer zgłoszenia w UP P.444173
Numer prawa wyłącznego Pat.248594
Data zgłoszenia do UP 2023-03-23
Data udzielenia prawa 2025-11-05
Status w UP Prawo w mocy

ZDJĘCIA

Zobacz również

21.01.2026

Pułapka na roztocza warrozy do ula pszczelego

Przedmiotem wynalazku jest pułapka na roztocza do ula pszczelego służąca do zwalczenia warrozy w rodzinach pszczelich. Pułapka na roztocza do ula pszczelego w postaci nakładki, charakteryzuje się tym, że ma postać skrzynki, a podstawę skrzynki stanowi

21.11.2025

Sposób otrzymywania folii na bazie komponentów z odpadów organicznych

Przedmiotem wynalazku jest sposób otrzymywania folii na bazie komponentów z pyłów po spaleniu węgli zwłaszcza do przechowywania produktów spożywczych, kosmetycznych, medycznych i zastosowań w przemyśle rolniczym. Główne przewagi wynalazku obejmują innowa

dr hab. Anna Grobelak, prof. PCz

Wydział

Wydział Infrastruktury i Środowiska

Dyscyplina naukowa

Inżynieria środowiska, górnictwo i energetyka

Twórcy

  1. Anna Grobelak
  2. Radosław Pluta

Kategorie

Patenty

Copyright © Politechnika Częstochowska. Wszystkie prawa zastrzeżone.