Sposób otrzymywania półwyrobów z niobu

OPIS

Wynalazkiem jest sposób otrzymywania półwyrobów z niobu poprzez spiekanie proszku niobu, co w praktyce oznacza zastosowanie technologii spiekania iskrowo-plazmowego (ang. Spark Plasma Sintering, SPS). Wyroby z niobu, jako innowacyjne produkty, mają zastosowanie w wielu dziedzinach, m.in.: związanych z energetyką jądrową, produkcją aparatury chemicznej oraz elementów urządzeń elektronicznych, medycyną a także w przemyśle zbrojeniowym. Spośród czystych metali niob charakteryzuje się najwyższą temperaturą nadprzewodnictwa (T = 30 K).

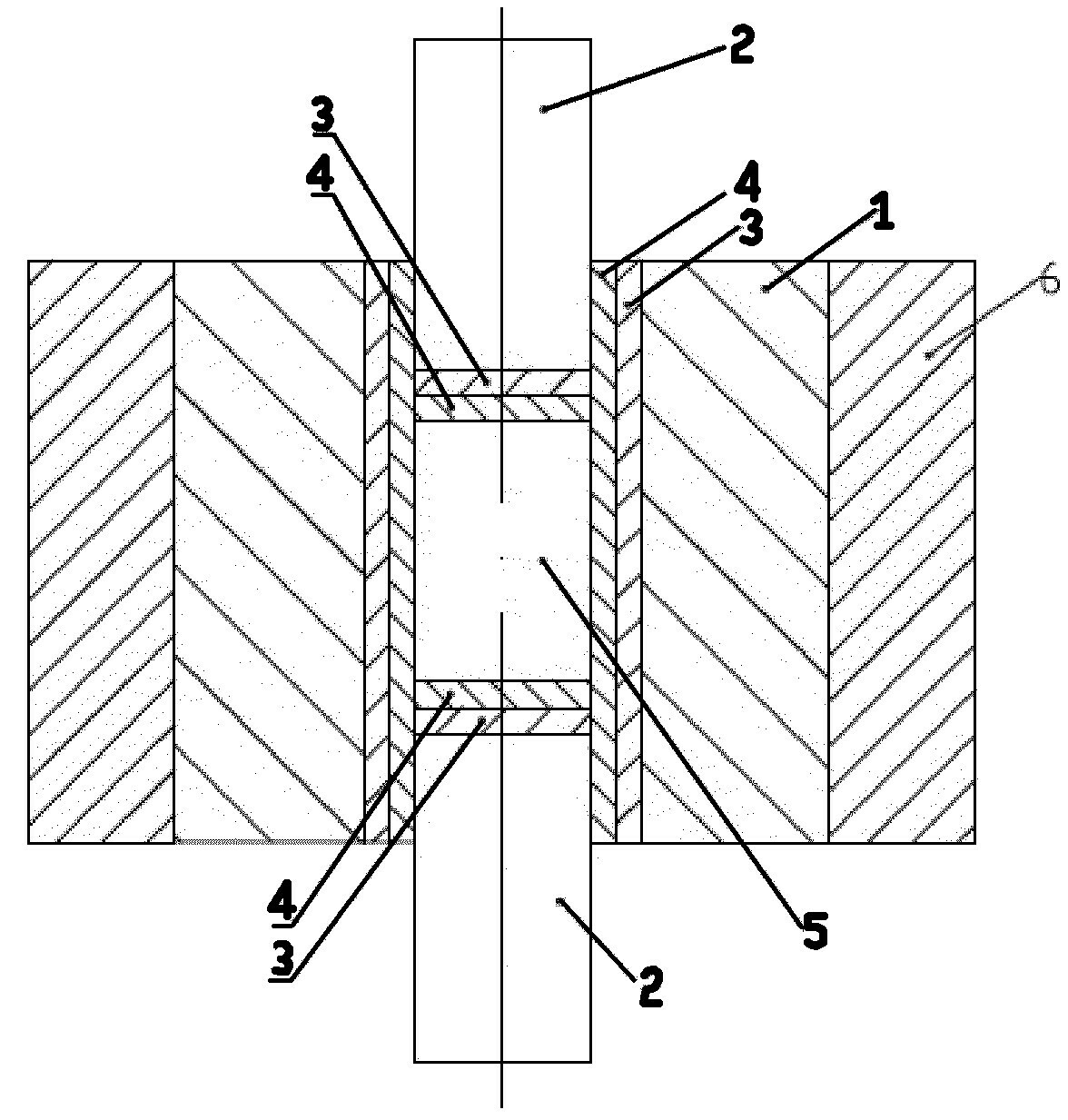
Sposób otrzymywania półwyrobów z niobu poprzez spiekanie iskrowo-plazmowe jest metodą polegającą na umieszczeniu proszku niobu (5) w komorze zasypowej, utworzonej przez matrycę (1) wykonaną z grafitu oraz stemple (2) wykonane z grafitu i oddzieleniu proszku niobu od matrycy i stempli folią wykonaną z tantalu (4) lub wolframu (3). Metoda charakteryzuje się tym, że w operacji spiekania iskrowo-plazmowego z wykorzystaniem prądu impulsowego napięciu 3 — 8 V, korzystnie 7 V z jednoczesnym prasowaniem w próżni o wartości 0,01 — 0,10 mbar, korzystnie 0,05 mbar proszek niobu poddaje się kolejno prasowaniu pod ciśnieniem 50 — 100 MPa, korzystnie 50 MPa, utrzymując to ciśnienie przez cały czas trwania procesu, nagrzewaniu do temperatury spiekania 1800 — 2200°C, korzystnie 2000°C, z szybkością nagrzewania 50 — 400°C/min, korzystnie 100°C/min, spiekaniu w temperaturze spiekania 1800 — 2200°C, korzystnie 2000°C, w czasie 5 — 15 min, korzystnie 10 min, a następnie chłodzeniu do temperatury otoczenia z szybkością chłodzenia 5 — 600°C/min, korzystnie 400°C/min.

Tytuł Sposób otrzymywania półwyrobów z niobu
Numer zgłoszenia w UP P.437441
Numer prawa wyłącznego Pat.246245
Data zgłoszenia do UP 2021-03-29
Data udzielenia prawa 2024-10-25
Status w UP Prawo w mocy

ZDJĘCIA

Zobacz również

04.02.2026

Masywny amorficzny stop żelaza

Przedmiotem wynalazku jest masywny amorficzny stop żelaza z dodatkiem srebra mający zastosowanie zwłaszcza w elektronice, elektrotechnice i energetyce, który charakteryzuje się tym, że ma skład Fe61Co10Y8Ag1B20, oraz nieuniknione zanieczyszczenia.

04.02.2026

Nanokrystaliczny stop żelaza - Fe60Co10Y9Ni1B20

Przedmiotem wynalazku jest nanokrystaliczny stop żelaza mający zastosowanie zwłaszcza w elektronice, elektrotechnice i energetyce, który charakteryzuje się tym, że ma skład Fe60Co10Y9Ni1B20, oraz nieuniknione zanieczyszczenia. Materiały wykazujące

dr hab. inż. Maciej Suliga, prof. PCz

Wydział

Wydział Inżynierii Produkcji i Technologii Materiałów

Dyscyplina naukowa

Inżynieria materiałowa

Twórcy

  1. Anna Kawałek
  2. Dariusz Garbiec
  3. Ozhmegov Kirill

Kategorie

Patenty

Copyright © Politechnika Częstochowska. Wszystkie prawa zastrzeżone.